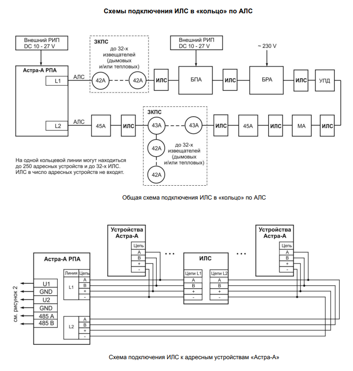
Особенности установки Астра-А ИЛС (изолятор линии связи)

Астра-А ИЛС (изолятор линии связи) - автоматическая изоляция сегмента АЛС или участка интерфейса RS-485 (с блоком расширения), в котором произошло короткое замыкание, с целью защиты и сохранения работоспособности системы при единичной неисправности линии связи, ускорения поиска места неисправности.

 

Количество изоляторов:

в одном кольцевом интерфейсе RS-485 – до 64 шт

 

в одной АЛС – до 32 шт